SG.hu·
Kiválthatja az okostelefont az LG különleges tolla

Érdekes szabadalmat nyújtott be a dél-koreai konszern.
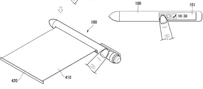
Különleges eszközzel jelentkezhet a közeljövőben az LG, ha úgy dönt. Az ehhez szükséges szabadalmi leírás már a birtokában van. A dél-koreai társaság még 2015-ben nyújtotta be a szabadalmi beadványát az Amerikai Egyesült Államok Szabadalmi és Védjegyhivatalához (USPTO). A dokumentum egy olyan készüléket írt le, amely első ránézésre egy toll, de az egyik oldalából kihúzható kijelzővel rendelkezik, ezáltal kiválthatja az okostelefont.
A kihúzható nagy képernyő mellett az eszköz érdekessége a beépített kisebb kijelző is, amelyet elsősorban az értesítésekre alkalmaznának. A toll egyébként úgy működne, mint bármely hagyományos íróeszköz, így például írni lehetne vele papírra, de a leírt szöveget automatikusan digitalizálná, ezáltal akár egy táblagéphez is használható lenne. A tollba integráltak giroszkópot, elektronikus iránytűt, távolságmérő szenzort, légnyomásmérő szenzort, kamerát, szemmozgás-követő szenzort és ujjlenyomat-olvasót. A kommunikációt segíti az integrált mikrofon és a hangszóró.
Az egyelőre még kérdéses, hogy bár a USPTO most elfogadta a szabadalmat, de az elképzelésből lesz-e valaha termék és ha igen, mikor.
Különleges eszközzel jelentkezhet a közeljövőben az LG, ha úgy dönt. Az ehhez szükséges szabadalmi leírás már a birtokában van. A dél-koreai társaság még 2015-ben nyújtotta be a szabadalmi beadványát az Amerikai Egyesült Államok Szabadalmi és Védjegyhivatalához (USPTO). A dokumentum egy olyan készüléket írt le, amely első ránézésre egy toll, de az egyik oldalából kihúzható kijelzővel rendelkezik, ezáltal kiválthatja az okostelefont.
A kihúzható nagy képernyő mellett az eszköz érdekessége a beépített kisebb kijelző is, amelyet elsősorban az értesítésekre alkalmaznának. A toll egyébként úgy működne, mint bármely hagyományos íróeszköz, így például írni lehetne vele papírra, de a leírt szöveget automatikusan digitalizálná, ezáltal akár egy táblagéphez is használható lenne. A tollba integráltak giroszkópot, elektronikus iránytűt, távolságmérő szenzort, légnyomásmérő szenzort, kamerát, szemmozgás-követő szenzort és ujjlenyomat-olvasót. A kommunikációt segíti az integrált mikrofon és a hangszóró.
Az egyelőre még kérdéses, hogy bár a USPTO most elfogadta a szabadalmat, de az elképzelésből lesz-e valaha termék és ha igen, mikor.